荫云yinnet最近上线了韩国双ISP家宽住宅IP产品,使用优惠码仅需$9.6/月,他家更有香港HKT产品,1G独享仅需$150/月,对海外电商IP有极高要求的可以去看一下,下面是荫云yinnet韩国双ISP的详细测评。

官方网站:https://www.yin-net.com/
8折优惠码:yinnet
| 内存 | CPU | 带宽 | 硬盘 | 流量 | 价格 |
| 1G | 1核 | 100M | 10G | 1T/月 | $12/月 |
| 2G | 2核 | 200M | 20G | 2T/月 | $16/月 |
| 4G | 4核 | 300M | 50G | 3T/月 | $25/月 |
| 8G | 8核 | 500M | 100G | 5T/月 | $40/月 |
下面就给大家带来详细测评。
一、性能测试
可以看到CPU使用的是 2686V4 基本频率为2.3:

通过fio测试如下图:

geekbench 5跑分如下图:

CPU、内存、磁盘等测试数据:


IP质量测试(为ISP的IP):

ping值测试:

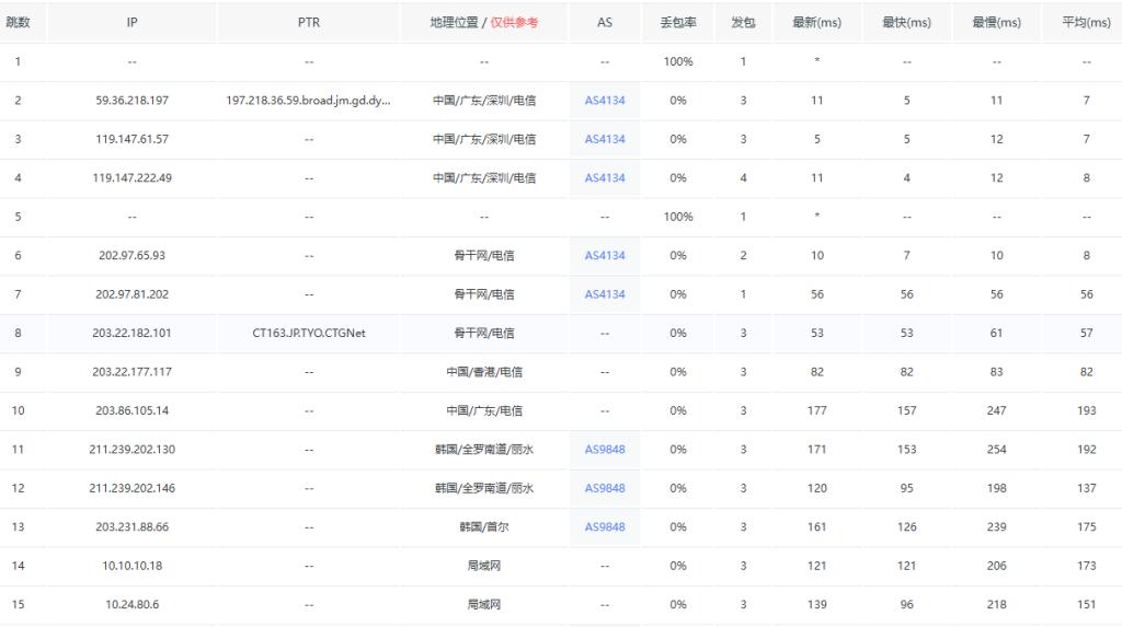
电信去程测试:

联通去程:

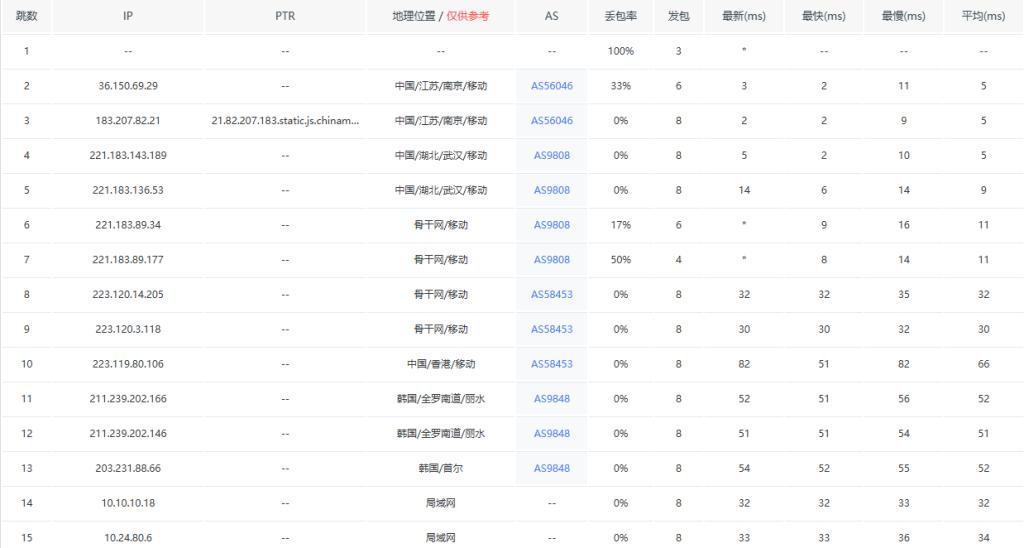
移动去程测试:

线路回程测试:

节点测速测速:

IP质量:


对于IP要求较高的可以看一下,线路对联通移动比较友好。
(本文由美国主机侦探原创,转载请注明出处“美国主机侦探”和原文地址!)
微信扫码加好友进群
主机优惠码及时掌握
QQ群号:938255063
主机优惠发布与交流




