腾讯云轻量服务器是今年腾讯云新上线的一款服务器,一经推出便受到国内站长的青睐,目前有北京、上海、广州、成都、香港、硅谷和新加坡等众多机房。腾讯云轻量服务器是一种易于使用和管理、适合承载轻量级业务负载的云服务器,适合中小企业及开发者在云端快速构建网站、博客、电商、论坛等各类应用。 今天就带大家对腾讯云轻量服务器最受欢迎的香港机房简单评测下,仅供大家参考。
一、腾讯云轻量服务器香港机房方案
| 方案 | CPU | 内存 | 硬盘 | 带宽 | 流量 | 价格/年 |
| 基础型 | 1核 | 1GB | 25GB | 30Mbps | 1TB | 288元 |
| 通用型 | 1核 | 2GB | 50GB | 30Mbps | 2TB | 408元 |
| 专业型 | 2核 | 4GB | 100GB | 30Mbps | 4TB | 1596元 |
| 进阶型 | 2核 | 8GB | 200GB | 30Mbps | 5TB | 3192元 |
《点击官网购买》
二、腾讯云轻量服务器香港评测
1、硬盘I/O

2、上传下载速度

3、全网Ping速度

4、路由去程追踪
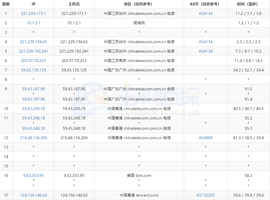
电信

移动

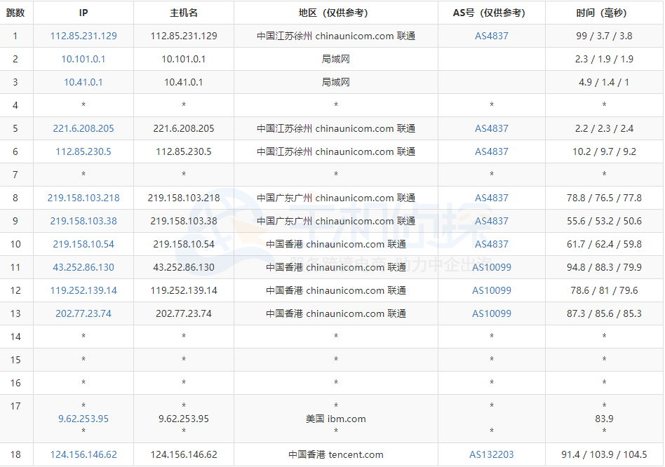
联通

5、路由回程追踪
电信

移动

联通

(本文由美国主机侦探原创,转载请注明出处“美国主机侦探”和原文地址!)
微信扫码加好友进群
主机优惠码及时掌握
QQ群号:938255063
主机优惠发布与交流



