IID GLOBAL是IID Corp旗下的致力于成为全球电信增值服务提供商,为用户在全球范围内提供优 质、稳定的互联网服务、IDC服务、服务器租赁、裸金属云、DDOS清洗、SD-WAN以及专线等服务。IID GLOBAL目前提供云主机、美国/香港服务器、美国/香港站群服务器和美国/香港母鸡服务器等多种服务器方案。那么IIDATC香港服务器怎么样呢,本文为大家评测下香港服务器2*E5-2660方案,32G内存、20M带宽、不限流量配置,评测数据仅供参考。
| CPU | 内存 | 硬盘 | 带宽 | 流量 | IP | 防御 | 价格 |
| I3-4130 | 4G | 1T(HDD) | 20M独享(含10M回国) | 不限 | 1个 | 10G | $110.00 |
| E3-1265L V3 | 8G | 1T(HDD)/240G(SSD) | 20M独享(含10M回国) | 不限 | 1个 | 10G | $110.00 |
| E3-1230 V2 | 16G | 1T(HDD)/240G(SSD) | 20M独享(含10M回国) | 不限 | 1个 | 10G | $132.00 |
| E5-2630 V3 | 16G | 1T(HDD)/240G(SSD) | 20M独享(含10M回国) | 不限 | 1个 | 10G | $155.00 |
| E5-2660 | 16G | 1T(HDD)/240G(SSD) | 20M独享(含10M回国) | 不限 | 1个 | 10G | $182.00 |
| E5-2697 V2 | 32G | 1T(HDD)/240G(SSD) | 20M独享(含10M回国) | 不限 | 1个 | 10G | $205.00 |
| 2*E5-2660 | 32G | 1T(HDD)/240G(SSD) | 20M独享(含10M回国) | 不限 | 1个 | 10G | $325.00 |
| 2*E5-2697 V2 | 64G | 1T(HDD)/240G(SSD) | 20M独享(含10M回国) | 不限 | 1个 | 10G | $375.00 |
1、CPU和硬盘I/O

2、CPU内存现成测试


3、全网Ping:平均速度在60.3ms,国内访问速度快。

4、回程路由追踪
电信:采用电信CN2直连线路


联通:直连线路,无绕道


移动:直连线路,无绕道


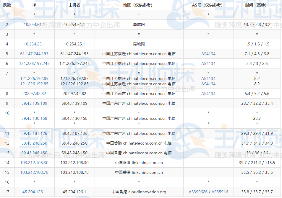
5、去程路由追踪
电信:采用电信CN2直连线路

联通

移动

6、跑分测试

相关推荐:《IIDATC美国服务器E5-2660方案速度和性能综合测评》
(本文由美国主机侦探原创,转载请注明出处“美国主机侦探”和原文地址!)
微信扫码加好友进群
主机优惠码及时掌握
QQ群号:938255063
主机优惠发布与交流



