PQS彼得巧网络信息股份有限公司成立于2015年,专注销售VPS和实体机,目前有台北CN2、日本CN2、香港BGP、台湾彰化HiNet线路的VDS,提供原生IP,主推台湾HiNet动态IP家宽VDS,支持API自助换IP。同时提供台湾彰化机房实体机,10Gbps接入,无限流量。支持支付宝、PAYPAL、USDT以及信用卡等付款方式。目前提供月付92折、年付74折等多种优惠。
官网截图或促销图片:

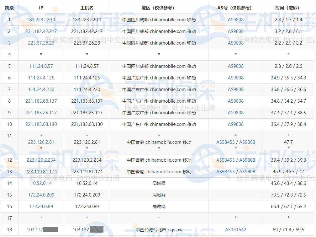
**台北CN2实测数据如下**
1.全国三网Ping值效果:

2.三网去程路由测试:
(1)电信去程路由

(2)联通去程路由

(3)移动去程路由

3.台北CN2解锁

4.服务器性能/综合数据

(本文由美国主机侦探原创,转载请注明出处“美国主机侦探”和原文地址!)
微信扫码加好友进群
主机优惠码及时掌握
QQ群号:938255063
主机优惠发布与交流



