HostKvm VPS主机提供欧洲、中国香港、美国、日本、新加坡、韩国等区域机房,网络稳定,性价比这块很高,HostKVM的德国VPS机房位于法兰克福,提供了100Mbps带宽,最低配置1核、2GB内存、40GB存储、500GB流量,价格是7美元1月,支持Linux操作系统,可以使用支付宝付款。接下来我们来了解机房速度如何?
HostKvm德国VPS主机方案:
| 方案 | CPU | 内存 | 硬盘 | 带宽 | 流量/月 | 价格/月 |
| EU-Plan1 | 单核2G | 2048MB | 40GB | 100Mbps | 500GB | $7.00 |
| EU-Plan2 | 双核4G | 4096MB | 40GB | 100Mbps | 1000GB | $8.00 |
| EU-Plan3 | 双核4G | 4096MB | 60GB | 100Mbps | 1500GB | $15.00 |
| EU-Plan4 | 四核8G | 8192MB | 100GB | 100Mbps | 3000GB | $35.00 |
《点击进入官网购买》
本地PING:

全网PING:

丢包率:

HostKvm官网提供测速如下所示:

本地下载速度在44Mbps左右,上传速度在26Mbps左右,对于德国VPS来说还是相当不错的。
全国三网去程路由线路情况:
电信去程路由:
电信去程路由是从北京网口出去,经过伦敦、阿姆斯特丹节点后到达法兰克福机房。

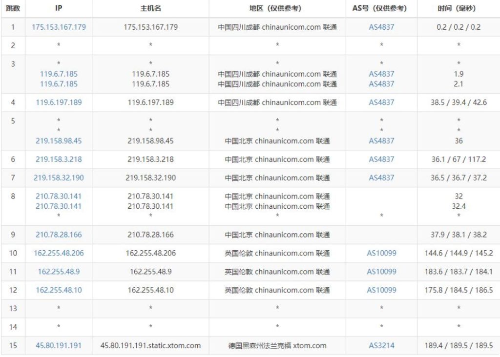
联通去程路由:
联通去程路由是从北京网口出去,经过伦敦节点后到达法兰克福机房。

移动去程路由:
移动去程路由是从上海网口出去,然后直连法兰克福机房。

(本文由美国主机侦探原创,转载请注明出处“美国主机侦探”和原文地址!)
微信扫码加好友进群
主机优惠码及时掌握
QQ群号:938255063
主机优惠发布与交流



