莱卡云(lcayun.com)是一家国内云计算厂商,均选择国内访问不错的机房和线路,拥有国内云服务器、境外云服务器、独立服务器、游戏服务器、CDN和SSL等业务,比如浙江云服务器、镇江云服务器、香港CN2、韩国CN2、美国CN2、日本CN2、美国高防等众多地区节点机房,公司含有工信部颁发 IDC ISP CDN 云牌照 互联网增值电信许可等资质。
莱卡云官方网站:https://www.lcayun.com/
目前莱卡云正在促销活动,香港、美国、韩国9.9元(2024年10月1日结束)。

本期跟大家带来是莱卡云的美国9929云服务器的详细测评。配置是弹性可选,我们默认选择最低配置测试,测试系统为centos7.6。

当然这边看见莱卡云有不少系统的应用模板,这边就不用我们再去手动安装。

1、性能测试
可以看到CPU使用的是 Gold 6133 基本频率为2.5:

通过fio测试如下图,性能还是比较不错的:

通过geekbench 5跑分如下图:

CPU、内存、磁盘等测试数据:

流媒体解锁测试(均为美国测试IP):


2、网络测试
ping值测试:

持续ping值测试,看的出来比较稳定:

电信去程测试,电信cn2去程:

联通去程为联通骨干网直连:

移动为移动骨干网直连:

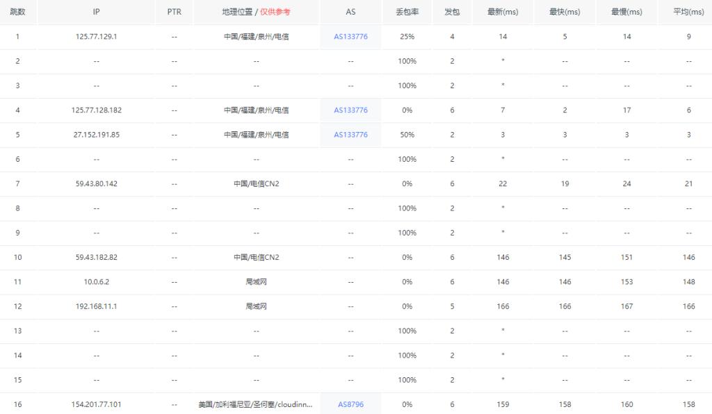
线路回程测试,电信联通均为9929回程,移动cmi直连:

节点测速测速,各个地区均能上下跑满20mbps:

结论:经过测试服务器速度跟延迟都是比较优秀,都是大陆优化线路,服务器性能也是不错的,价格28元也是比较实惠。
(本文由美国主机侦探原创,转载请注明出处“美国主机侦探”和原文地址!)
微信扫码加好友进群
主机优惠码及时掌握
QQ群号:938255063
主机优惠发布与交流



