香港服务器凭借着访问速度快和性能优越等各种优势逐渐占据了服务器市场,成为当下最受欢迎的海外服务器之一。为了迎合市场需求现在许多主机商纷纷推出了香港服务器,其中我们所熟悉美国老牌主机商BlueHost就是其中之一。那么BlueHost香港服务器到底怎么样呢?今天从速度和性能两个方面给大家简单体验评测下。
一、BlueHost香港服务器方案配置
BlueHost香港服务器有Linux和Windows操作系统,为大家提供Basic、Standard、Elite和Pro四种方案,最低方案配置为6GB 内存、5M独享带宽、不计流量,可以满足大多数企业的建站需求。
BlueHost优惠码:BH (九折优惠)
| 方案 | 型号 | CPU | 内存 | 空间 | 流量 | 带宽 | 价格/月 |
| Basic | E3-1220v3 | 3.1GHz 四核 | 6 GB | 1000 GB | 不计 | 5M | 759元 |
| Standard | E3-1265v3 | 2.5GHz 四核 | 14 GB | 1000 GB | 不计 | 5M | 999元 |
| Elite | E3-1265v3 | 2.5GHz 四核 | 22 GB | 2000 GB | 不计 | 5M | 1399元 |
| Pro | E3-1271v3 | 3.6GHz 四核 | 30GB | 2000 GB | 不计 | 5M | 1599元 |
《点击进入官网购买》
二、BlueHost香港服务器速度测试
BlueHost香港服务器位于香港顶级数据中心,香港地理位置十分优越,出口带宽十分充足,因此国内访问速度快,Ping值在50ms以下。此外BlueHost香港服务器所在的机房采用的都是最为先进的技术,提供全天24小时的专业人员维护,可以最快的发现问题并予以处理,基本都能保证99.9%稳定运行。
合肥电信Ping值测试,平均值为49ms,没有发生丢包情况

全网Ping值测试,电信和联通平均在55.9ms和49.1ms,速度也是相当快的。

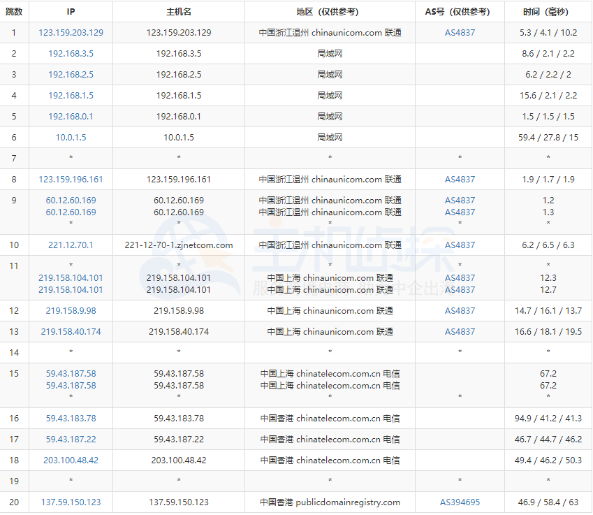
路由追踪,这里以浙江温州测试,分别对电信和联通线路测试,测试介绍如下:
电信

联通

三、BlueHost香港服务器性能
BlueHost香港服务器配备的顶级硬件设施,采用最新的最好的超级刀片服务器,英特尔至强处理器,DDR3内存和7200转SATA驱动器。同时BlueHost香港服务器不但系统支持PHP 5.2/5.3,Perl,Python和Ruby等软件,而且支持云存储方式仅需一键便可完成云存储安装操作。
以上就是这次BlueHost香港服务器评测,综上所述,无论是速度、性能还是售后上看BlueHost香港服务器都是一个不错的选择。
更多教程:BlueHost评测
(本文由美国主机侦探原创,转载请注明出处“美国主机侦探”和原文地址!)
微信扫码加好友进群
主机优惠码及时掌握
QQ群号:938255063
主机优惠发布与交流



