BlueHost香港服务器怎么样?BlueHost香港服务器位于HKColo.NET数据中心最顶级的Telehouse机房,配备的顶级硬件设施,采用最新的最好的超级刀片服务器,英特尔至强处理器,DDR3内存和7200转SATA驱动器。BlueHost香港服务器有Linux和Windows两种操作系统,全新升级电信CN2直连线路,最低配置4GB内存,1000GB空间,5M带宽,不计流量,配置基本上能满足大部分用户的需求。本文将对BlueHost香港服务器Standard方案进行全方面评测,评测数据仅供参考。
BlueHost优惠码:BH)(九折)
| 方案 | 型号 | CPU | 内存 | 空间 | 流量 | 带宽 | 价格/月 |
| Basic | E3-1220v3 | 3.1GHz 四核 | 6GB | 1000GB | 不限 | 5M | 599元 |
| Standard | E3-1265v3 | 2.5GHz 四核 | 14GB | 1000GB | 不限 | 10M | 799元 |
| Elite | E3-1265v3 | 2.5GHz 四核 | 22GB | 2000GB | 不限 | 10M | 999元 |
| Pro | E3-1271v3 | 3.6GHz 四核 | 30GB | 2000GB | 不限 | 10M | 1099元 |
《点击进入官网购买》
1、CPU和I/O读写

2、上传下载速度:平均速度在10M,这个速度还是很好的。

3、CPU内存现成测试


4、全网Ping:电信和联通平均速度在50ms以内,移动相对来说会慢点。

5、回程路由追踪
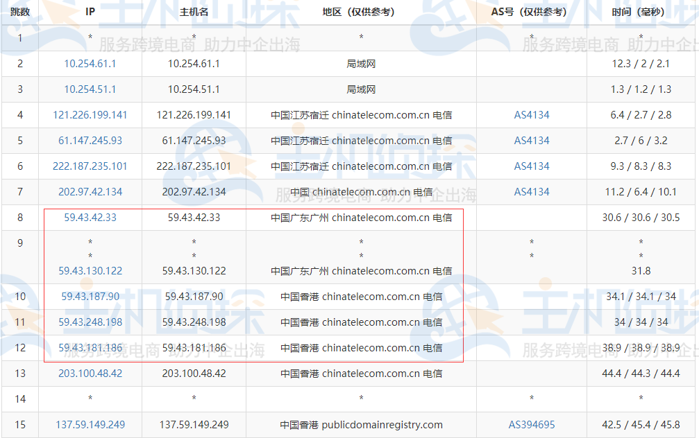
电信:CN2线路



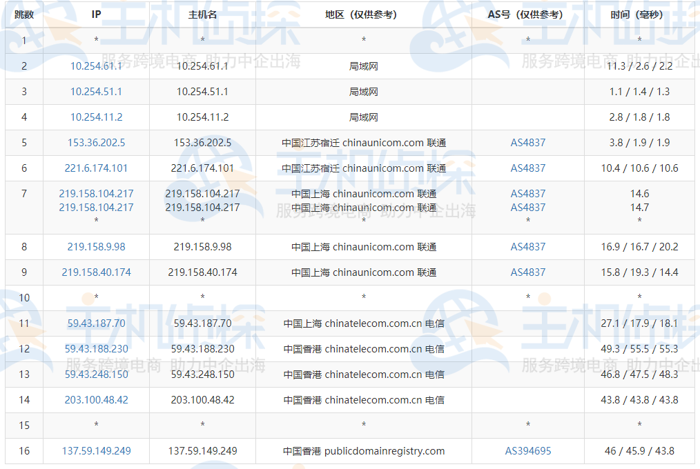
联通



移动


6、去程路由追踪
电信

联通

移动

7、跑分测试


相关推荐:《BlueHost美国服务器DS1-SSD方案速度和性能评测》
(本文由美国主机侦探原创,转载请注明出处“美国主机侦探”和原文地址!)
微信扫码加好友进群
主机优惠码及时掌握
QQ群号:938255063
主机优惠发布与交流



