BudgetVM是一家目前有六家机房的美国主机提供商,分别是美国洛杉矶、达拉斯、芝加哥、迈阿密、荷兰阿姆斯特丹、日本东京。之前小编已经对洛杉矶和日本东京这两个数据中心做过测评,今天就来对BudgetVM芝加哥和达拉斯机房速度做个简单对比。

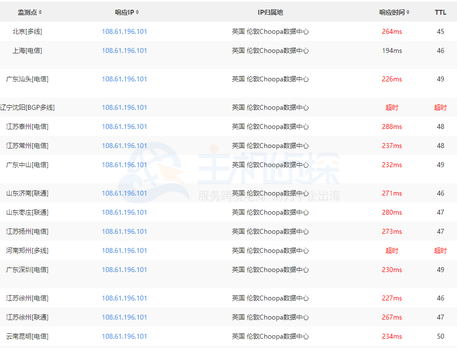
首先我们来看一下BudgetVM芝加哥机房,根据BudgetVM官方提供的IP(108.61.196.101),我们来ping一下,如下图:


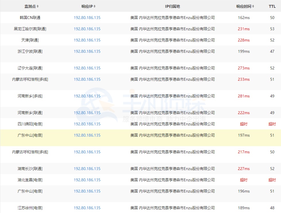
从上面的ping结果得到平均速度在246ms左右,不理想,而且出现超时的情况也挺多的,这个BudgetVM芝加哥机房不推荐。下面来测一下BudgetVM达拉斯机房(192.80.186.135),如下图:


BudgetVM达拉斯机房平均速度在207ms左右,相比芝加哥机房,速度略快一点,但是小编之前测的BudgetVM洛杉矶机房速度在200ms以内,建议大家选择这个机房速度快一点,上述也给出的IP,大家也可以自己动手测一下,地区差异测试结果也会不同。
参考文章:《BudgetVM美国VPS主机洛杉矶机房速度测试》
(本文由美国主机侦探原创,转载请注明出处“美国主机侦探”和原文地址!)
微信扫码加好友进群
主机优惠码及时掌握
QQ群号:938255063
主机优惠发布与交流




