为满足美国VPS用户对访问速度的要求,很多主机商都有推出美国cn2 VPS主机。但是,很多朋友都不知道哪个CN2美国VPS好,选择无从下手。这里给大家推荐RAKsmart CN2美国VPS,性能都非常好。
据了解,RAKsmart已经接入电信CN2线路,网络质量更好、访问速度更快、延迟更低。目前,RAKsmart提供多达十多种CN2线路美国VPS主机方案,位于加州顶级数据机房,最低只需¥50.00/月。

为了让大家对RAKsmart 美国cn2 VPS的整体性能有更好了解。下面对其进行简单的测试,主要包括Ping延迟、路由跟踪、丢包率等,测试IP:104.192.87.66。
一、Ping命令测速
Ping可以测试出延迟情况,大型的网站对这个要求较高。一般情况下,CN2美国VPS的Ping值在180ms以下。
测试方法很简单,大家可以直接在DOS窗口下ping -t命令即可。当然,如果想多个地方进行测试,可以借助站长工具进行测试。


上图就是测试结果,从图中可以看出,90%以上地区的Ping值都是低于180ms,访问速度还是较为理想的。
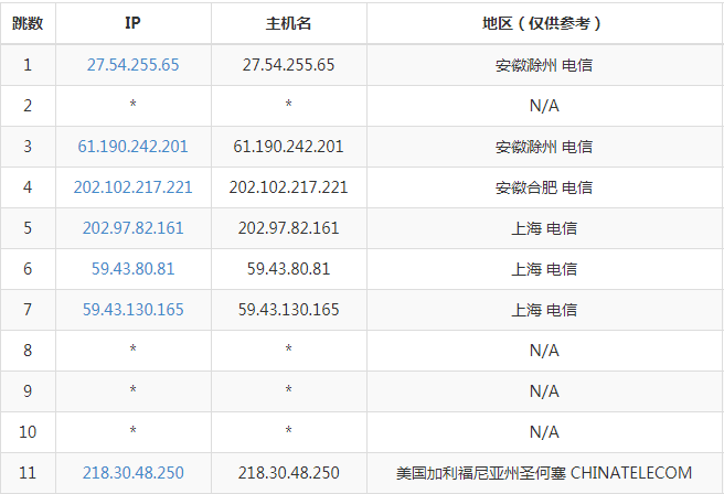
二、路由节点跟踪
这个主要看线路节点走向,是否是直连的。如果线路是绕道走向,不但会影响访问速度,对美国CN2 VPS主机的稳定性也构成影响。
对于个人来说,可以使用Tracert命令查看结果。如果是站长的话,想查看多个地区的路由情况,也可以借助路由测试工具查看。


从上图不难发现,路由节点走向还是很优质的,基本没有绕道。
三、数据丢包率测试
通过丢包率测试可以看出美国VPS主机的稳定性情况。丢包率如果很高的话,会导致网站访问很不稳定,表现是一会快一会慢。对于丢包率测试也是非常有必要的。
对于个人的话,可以通过DOS窗口进行测试,以下是RAKsmart 美国CN2 VPS主机的测试情况,这个是没有丢包的。

当然,如果想查看多地区的丢包情况,大家可以借助MTR测试工具进行查看,其实,效果也是很理想的,基本上是没有丢包的。
另外,除了以上三点,大家有兴趣的话,也可以进行百兆文件下载测速下载,速度至少220K/S以上才行。当然,这个不仅与美国VPS有关,与自身网络宽带也有关系,自己的带宽越大,干扰性也就越强,不过还是可以作为一个参考的。

通过以上几点测试,不难看出RAKsmart 美国CN2 VPS主机综合性能还是不错的。如果大家有这方面需求的话,不妨考虑下。
值得注意的是,以上测试参数可以起到基本的参考作用。不同价格、不同硬件配置的美国CN2 VPS主机方案,其主要性能都是有区别的,毕竟,一分价钱一分货。
扩展阅读:
(本文由美国主机侦探原创,转载请注明出处“美国主机侦探”和原文地址!)
微信扫码加好友进群
主机优惠码及时掌握
QQ群号:938255063
主机优惠发布与交流



