DediPath是一家有多年历史的美国VPS商家,主要提供服务器和美国VPS主机产品方案,采用主流的KVM和OpenVZ虚拟化技术,SolusVM控制面板,全部为不限流量VPS。目前DediPath有洛杉矶、纽约、拉斯维加斯和达杰克逊维尔四个美国机房,那么DediPath四个美国机房速度怎么样呢,下面我们来简单测试下。
一、DediPath洛杉矶机房
测试IP:194.180.179.242
1、全网Ping
2、路由追踪

二、DediPath纽约机房
测试IP:91.132.1.132
1、全网Ping
2、路由追踪

三、DediPath拉斯维加斯机房
测试IP:5.104.78.26
1、全网Ping

2、路由追踪

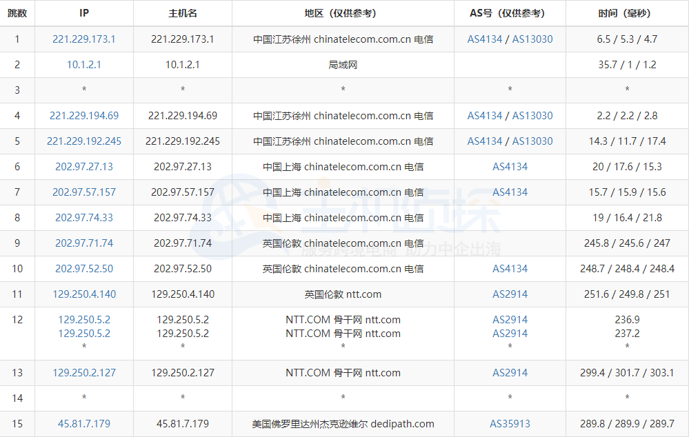
四、DediPath达杰克逊维尔机房
测试IP:45.81.7.179
1、全网Ping
2、路由追踪

以上就是这次DediPath四个美国机房速度测试结果,从测试结果可以看到洛杉矶和纽约机房速度相比其他两个机房速度快很多,当然大家也可以自行测试。
相关推荐:
(本文由美国主机侦探原创,转载请注明出处“美国主机侦探”和原文地址!)
微信扫码加好友进群
主机优惠码及时掌握
QQ群号:938255063
主机优惠发布与交流



