HostDare是一家美国主机商,成立于2015年,目前主要提供美国洛杉矶(QuadraNet机房)IDC产品解决方案,包括美国虚拟主机、云服务器VPS和独立服务器等。最近HostDare中国优化CKVM系列VPS主机有促销活动,性价比很高,很适合用来搭建网站,本文就对其做个简单介绍并对速度进行测试,分享数据以供大家参考。
HostDare中国优化CKVM系列VPS的租用方案推荐

《点击进入官网购买》
1、全网PING值延迟测试

2、三网去程路由跟踪
(1)电信

(2)移动

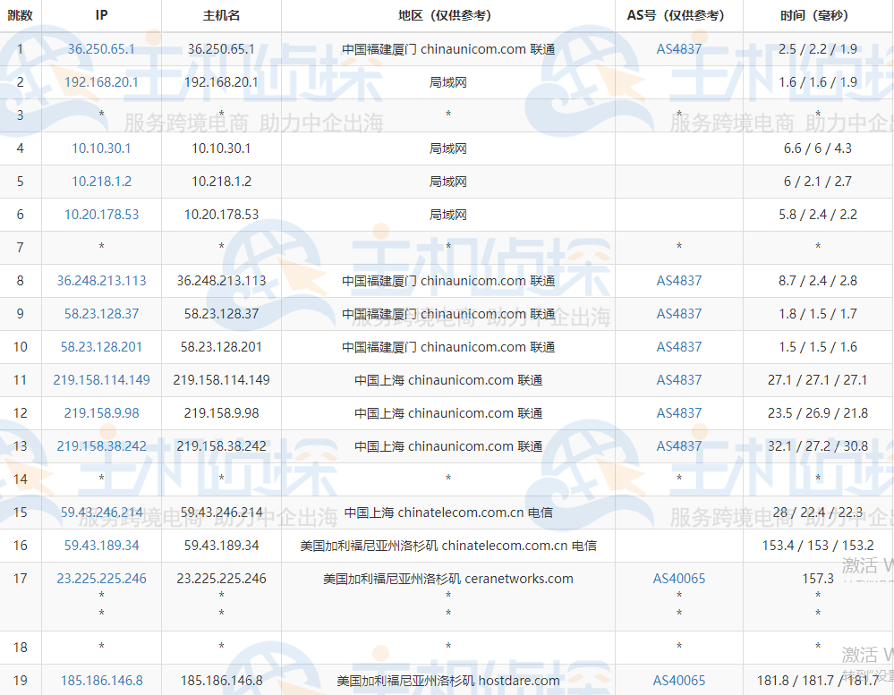
(3)联通

3、丢包测试

总之,以上就是对HostDare中国优化CKVM系列VPS主机的综合评测,综合来看,速度方面还是比较稳定的,而且在价格上也很划算,整体的性价比不错。对此有需要购买HostDare的用户可以参考一下。
(本文由美国主机侦探原创,转载请注明出处“美国主机侦探”和原文地址!)
微信扫码加好友进群
主机优惠码及时掌握
QQ群号:938255063
主机优惠发布与交流



