近几年韩国服务器一直都是国外服务器市场中的热门产品,其主要原因是韩国作为世界上网速最快的国家之一,机房带宽资源充足,访问速度快。我们都知道老牌美国主机商HostEase前几个月推出了韩国服务器,一经推出就受到国内外站长的一致关注。HostEase韩国服务器位于韩国首尔数据中心,集成多条国际线路,那么HostEase韩国服务器访问速度怎么样呢,今天就带大家做一个简单的速度评测。
测评IP:27.124.8.14
1、合肥电信Ping值,平均值32ms,没有出现丢包现象

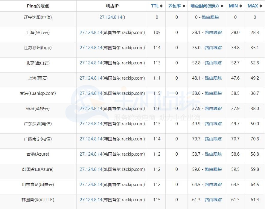
2、全网Ping速度测试,平均值为57.1ms


3、去程路由测试
(1)、电信

(2)、移动

(3)、联通

以上就是这次HostEase韩国服务器速度评测,由这次评测我们可以看出HostEase韩国服务器采用混合线路,到国内部分有接入CN2线路,国内访问Ping值50ms左右,没有丢包情况出现,当然小伙伴们也可以自行测试,不管怎么样HostEase韩国服务器还是值得购买的。
(本文由美国主机侦探原创,转载请注明出处“美国主机侦探”和原文地址!)
微信扫码加好友进群
主机优惠码及时掌握
QQ群号:938255063
主机优惠发布与交流




