美国主机商HostEase新加坡VPS云主机上线已经有一段时间了,位于新加坡顶级数据中心,采用HDD硬盘,支持Linux和Windows操作系统。那么HostEase新加坡VPS云主机速度怎么样呢,下面就大家简单评测下。
一、HostEase新加坡VPS云主机方案
| 方案 | CPU | 内存 | 硬盘 | 流量 | 带宽 | 价格/月 |
| UVK-V1 | 1核 | 1GB | 30GB HDD | 500GB | 20Mbps 共享 | $25.50 |
| UVK-V2 | 2核 | 2GB | 60GB HDD | 1000GB | 20Mbps 共享 | $35.00 |
| UVK-V4 | 3核 | 4GB | 120GB HDD | 2000GB | 20Mbps 共享 | $55.00 |
| UVK-V8 | 4核 | 8GB | 240GB HDD | 4000GB | 100Mbps 共享 | $95.00 |
二、HostEase新加坡VPS云主机速度测评
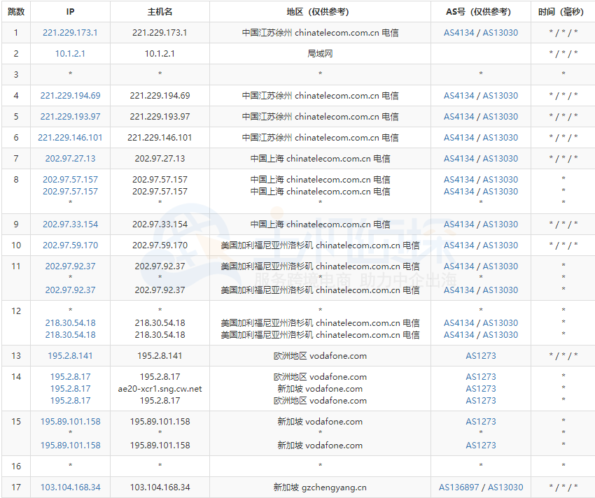
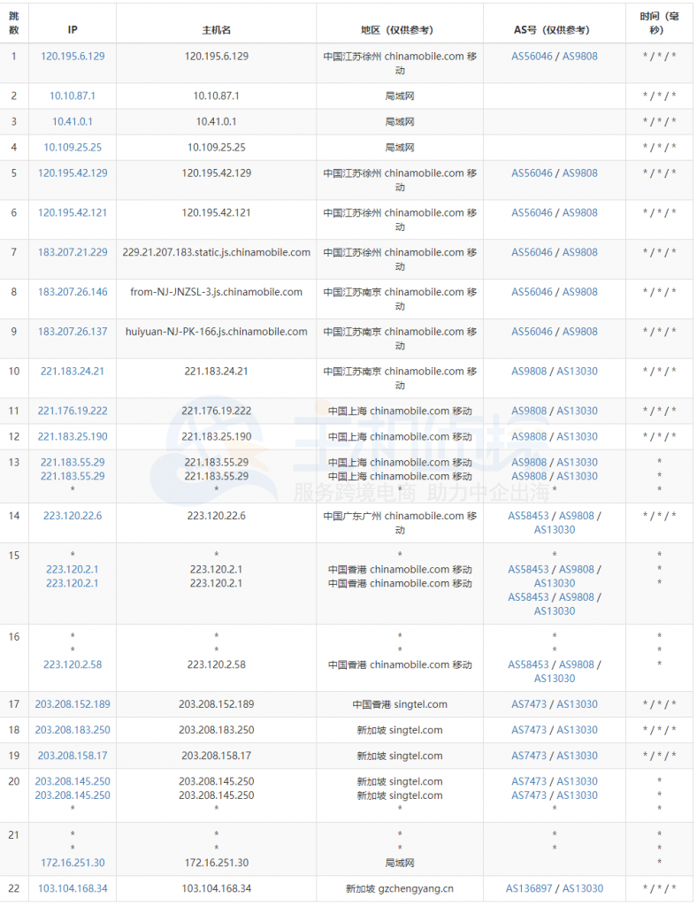
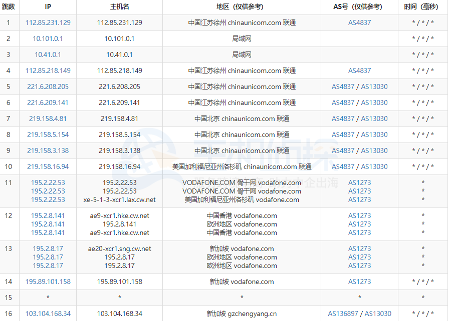
测试IP:103.104.168.34
1、全网Ping


2、路由追踪
电信

移动

联通

(本文由美国主机侦探原创,转载请注明出处“美国主机侦探”和原文地址!)
微信扫码加好友进群
主机优惠码及时掌握
QQ群号:938255063
主机优惠发布与交流




