iON是Krypt旗下的云服务器品牌,Krypt是一家成立于1998年的老牌主机商,主营独立服务器产品。iON Cloud是Krypt在2019年新推出的云服务器销售品牌,虽然是成立时间不长,但是其产品稳定性好和高性价比因此一直都受到站长朋友们的一致关注。
目前我们知道iON Cloud云服务器产品有美国洛杉矶、美国圣何塞以及新加坡数据中心,所有数据中心均有CN2直连中国大陆的线路可以选择。那么Krypt iON Cloud洛杉矶VPS速度怎么样,下面这里就iON Cloud洛杉矶VPS的性能和大家简单分享下。
首先看一下iON洛杉矶VPS的硬件测试,从下图我们可以看到是用的E5-2680 v3处理器,单核2.5GHz的频率,这个处理器可以说是非常好;读出来992M的内存默认还有1G的Swap内存,这个内存也是够用的;读出来24G的硬盘,硬盘读写速度100MB/s,读写速度只能说勉强够用。 
其次我们重点看看上传下载速度,电信下载速度波动比较大,慢的20M,快的两三百M,但是上传速度更差,慢的才3M,快的也不到20M;联通下载速度和电信差不多,但是上传速度好多了,低了有20M,有一半都在100M左右,上传速度还是不错的;移动下载速度和电信联通一样不稳定,上传速度一半十几M,一半在60M左右。三网上传下载速度都不是很稳定,表现有点差强人意,但主要还是要看自己的节点。

接下来我们看下iON洛杉矶VPS到国内的延迟,到国内的延迟185MS,不算很优秀,但是对于洛杉矶机房来说这个速度还是令人满意的。

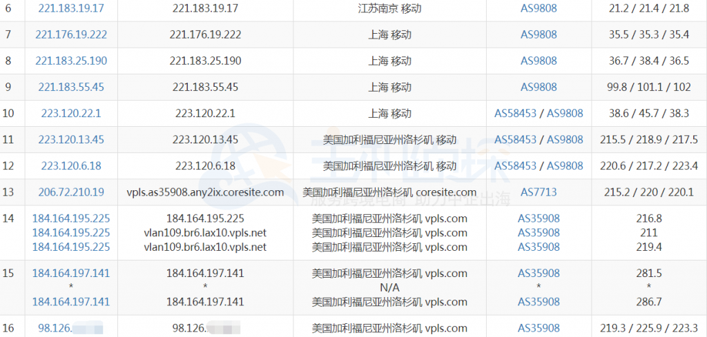
最后我们看下iON洛杉矶VPS具体的三网路由图,从下图我们可以看到三网都是直连的,其中电信去程和回程都是走的59.43开头CN2的线路,可以算是CN2 GIA线路,不过联通移动并没有走CN2线路,联通是走GTT经过圣何塞直连,移动是直连洛杉矶,路由都还不错。

(ION洛杉矶VPS电信路由)

(ION洛杉矶VPS联通路由)

(ION洛杉矶VPS移动路由)
以上就是我们对ION洛杉矶VPS的测评,可以看到硬件上CPU非常新非常好,就是硬盘读写速度差了点。路由上对于洛杉矶机房来说延迟还算可以,电信CN2往返直连,联通移动也是直连,上传下载速度波动比较大,这点是个劣势,相信等以后稳定性会好不少。就目前来说,ION洛杉矶VPS的性价比还是非常高的,所以有需要的小伙伴可以去iON官网看看哦!
(本文由美国主机侦探原创,转载请注明出处“美国主机侦探”和原文地址!)
微信扫码加好友进群
主机优惠码及时掌握
QQ群号:938255063
主机优惠发布与交流



