Megalayer这家海外服务器商家,成立时间不长但口碑却是非常不错的,提供的产品主要是以服务器为主,想必大家也都有一定的认识了,提供独立服务器,大带宽服务器,母机服务器以及VPS主机等产品服务,本次小编刚入手一台Megalayer香港大带宽服务器,就给大家测评下速度性能吧,希望可以帮到大家。
本次测试的机型方案:2*E5-2660CPU、64GB内存、4*480G SSD、国际带宽100M、3 IP。
一、Megalayer香港大带宽服务器2*E5-2660方案性能测评

二、Megalayer香港大带宽服务器CPU内存测试

三、全网ping延迟结果如下(和国内服务器速度无异)

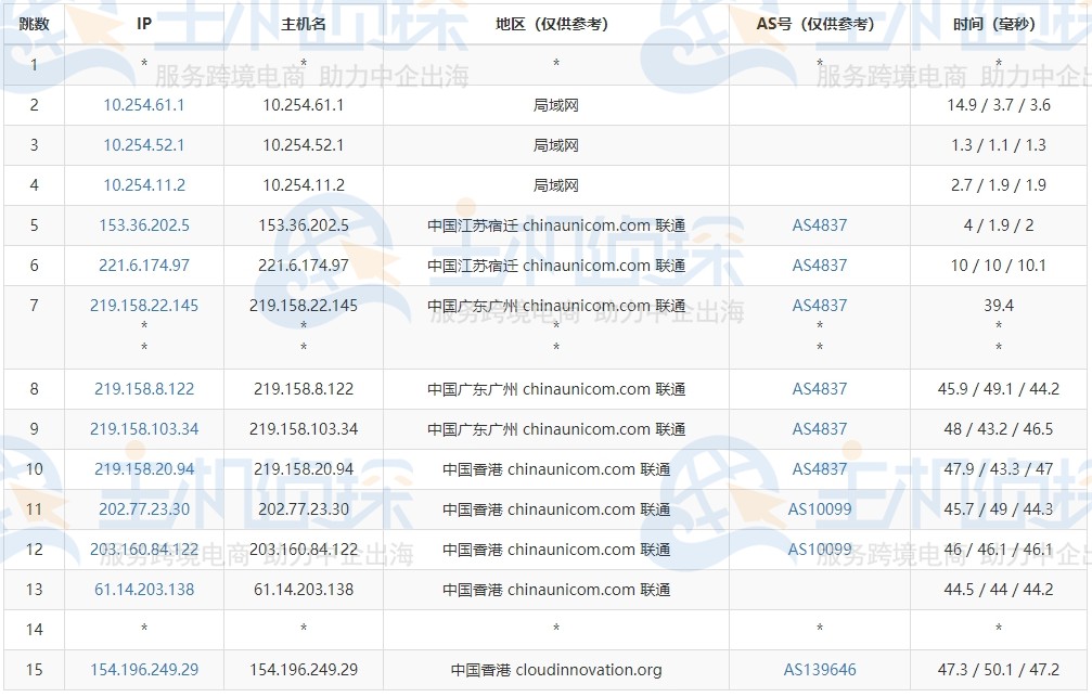
四、三网路由追踪
中国移动

中国电信

中国联通

五、UnixBench跑分测试:1016.5

六、直连情况

从上述测试结果来看,还是非常不错的,跑分的结果不错,ping的速度也很快,看的出来是直连的,对此有需要的朋友可以入手一台。
(本文由美国主机侦探原创,转载请注明出处“美国主机侦探”和原文地址!)
微信扫码加好友进群
主机优惠码及时掌握
QQ群号:938255063
主机优惠发布与交流




