作为活跃在中国市场的知名美国服务器提供商,RAKsmart不但专注提供服务器租用服务而且也提供VPS主机租用服务,现在提供SSD VPS、Cn2 VPS、香港VPS、日本VPS和CN2 Only多种VPS主机产品方案。前面给大家介绍了RAKsmart Cn2 VPS主机综合性能,今天给大家介绍下同样受欢迎的RAKsmart SSD VPS主机速度评测。
一、RAKsmart SSD VPS方案配置
RAKsmart提供十六种SSD VPS主机方案,提供Windows和Linux两种操作系统,具有读取数据块、稳定性高、存储空间大等诸多的优势,位于加州圣何塞机房,这里列举几款热门方案。
| 方案 | CPU | 内存 | 硬盘 | 带宽 | 系统 | 价格/月 | 购买地址 |
| W512 | 1核 | 512M | 20GB | 1000M(共享) | Windows | $5.26 | 直达购买 |
| L512 | 1核 | 512M | 20GB | 1000M(共享) | Linux | $5.26 | 直达购买 |
| W1024 | 1核 | 1024MB | 40GB | 1000M(共享) | Windows | $8.66 | 直达购买 |
| L1024 | 1核 | 1024MB | 40GB | 1000M(共享) | Linux | $8.66 | 直达购买 |
| W2048 | 2核 | 2048MB | 80GB | 1000M(共享) | Windows | $15.46 | 直达购买 |
| L2048 | 2核 | 2048MB | 80GB | 1000M(共享) | Linux | $15.46 | 直达购买 |
二、RAKsmart SSD VPS速度评测
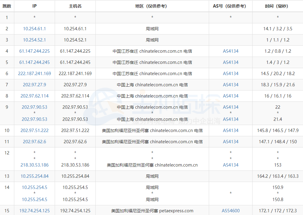
IP:192.74.254.125
1、Ping测试

2、路由追踪
电信

移动

联通

以上就是这次对RAKsmart SSD 美国VPS综合性能评测,从配置和速度来看综合性能还是不错的,有需求的站长朋友不要错过了。最后RAKsmart VPS全场8折优惠,其中SSD VPS 1024M方案仅需1.99美元,具体活动详情可以访问:《RAKsmart 8月优惠:VPS全场8折优惠 爆款仅需$1.99》。
推荐阅读:《RAKsmart Cn2 VPS主机性能综合评测》
更多评测:RAKsmart评测
(本文由美国主机侦探原创,转载请注明出处“美国主机侦探”和原文地址!)
微信扫码加好友进群
主机优惠码及时掌握
QQ群号:938255063
主机优惠发布与交流




