一直以来香港服务器是国内企业建站的第一选择,因为香港服务器不但国内访问速度快、免备案、性能配置高而且租用价格便宜。RAKsmart作为一家老牌美国服务器提供商,其提供的香港服务器也备受广大用户欢迎。RAKsmart香港服务器怎么样?RAKsmart香港服务器性能好不好?RAKsmart香港服务器速度快吗?这些都是大家所关心的问题,本文就对RAKsmart E5-2670v3双CPU高配香港服务器进行综合评测,方便大家参考选择。
一、RAKsmart香港服务器方案配置
| 方案 | 内存 | 硬盘 | 月流量 | 带宽 | 独立IP | 价格/月 | 购买链接 |
| E3-1230 | 16GB | 1T HDD | 不限 | 10M | 3个 | $107.69 | 官网购买 |
| E5-2670v3*2 | 32GB | 1T HDD | 不限 | 10M | 3个 | $338.46 | 官网购买 |
| E5-2630L*2 | 32GB | 1T HDD | 不限 | 10M | 3个 | $153.85 | 官网购买 |
| E5-2650*2 | 32GB | 1T HDD | 不限 | 10M | 3个 | $200.00 | 官网购买 |
| E3-1225 | 16G | 1T HDD | 不限 | 20M | 3个 | $269.23 | 官网购买 |
| E5-2650 | 16G | 1T HDD | 不限 | 20M | 3个 | $315.38 | 官网购买 |
| E5-2650*2 | 64G | 1T HDD | 不限 | 20M | 3个 | $361.54 | 官网购买 |
二、RAKsmart E5-2670v3双CPU高配香港服务器评测
1、CPU和I/O读写

2、国内下载速度

由测试可以看出上传和下载速度平均都在9.3M-5.5M,速度还是很快的。
3、亚洲其他地区速度

4、全网Ping

5、去程路由追踪
电信:CN2直连线路

联通:骨干直连线路

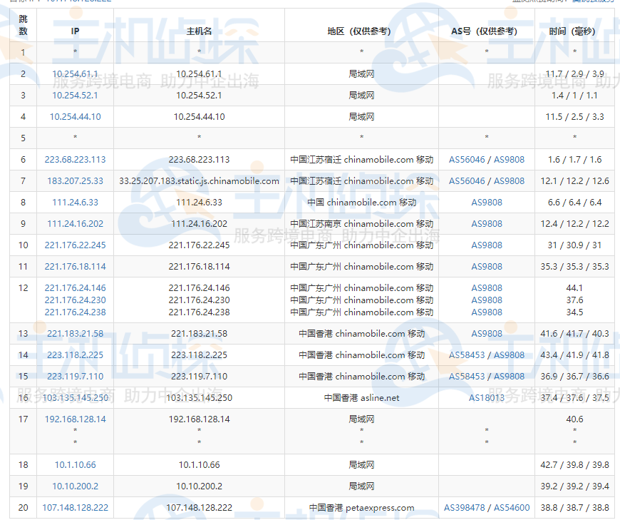
移动

6、回程路由追踪
联通:骨干直连线路


电信:CN2直连线路


移动


总结:从上面测试来看,RAKsmart E5-2670v3双CPU香港服务器带宽充足,性能配置高;电信双程走CN2、联通双程直连,移动去程走CMI回程直连,国内访问速度快,再加上使用RAKsmart优惠码:RAKBL9可以享受九折优惠,性价比还是很高的。
(本文由美国主机侦探原创,转载请注明出处“美国主机侦探”和原文地址!)
微信扫码加好友进群
主机优惠码及时掌握
QQ群号:938255063
主机优惠发布与交流




