一直以来RAKsmart美国大带宽服务器因宽资源丰富、稳定性能较高和租用价格便宜等多种优势成为电商、视频、下载类等多元化网站建站的第一选择。那么 RAKsmart美国G口大带宽服务器怎么样呢,下面将带大家对E5-2620进行综合评测,具体配置如下:
| CPU | 内存 | 硬盘 | 带宽 | 流量 | 线路 | 价格/月 | 购买地址 |
| E5-2620 | 32G | 1T SDD | 1000M | 不限 | 大陆优化 | $219.00 | 点此购买 |
RAKsmart美国G口大带宽服务器首月半价活动正在火热进行中,具体活动内容可以访问:《RAKsmart七月大促(二) 美国机房爆款产品半价热卖》。
1、CPU和I/O读写

2、CPU内存现成测试

3、下载上传速度测试

4、全网Ping

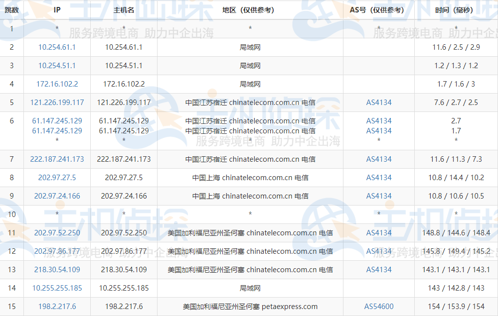
5、三网回程路由测试
电信:CN2线路

联通:电信CN2线路

移动:电信CN2线路

6、三网去程路由测试
电信

联通

移动

7、丢包测试

8、跑分测试

(本文由美国主机侦探原创,转载请注明出处“美国主机侦探”和原文地址!)
微信扫码加好友进群
主机优惠码及时掌握
QQ群号:938255063
主机优惠发布与交流




