SugarHosts,又名糖果主机,一家2009年成立的美国主机商,目前已经在陆续将2012年上线的普通架构的VPS主机改成云服务器架构模式。采用DECADE云服务器采用最新一代云虚拟化技术,性能超越常规VPS。同时采用的是SSD固态硬盘RAID阵列提升磁盘读写速度。
现在我们可以看到SugarHosts商家提供包括DECADE云服务器、SSD VPS主机、传统VPS主机,但其中商家已经在用DECADE云服务器慢慢替代后两者,所以在选择的时候建议优先选择DECADE云服务器。
一、SugarHosts香港云服务器配置
推荐:Cloud L1方案
配置:1 个 CPU 核心、1GB 内存、20GB SSD、300GB月流量,价格¥55.53/月
特点:SugarHosts最新一代云虚拟化技术,性能超越普通VPS主机,秒级快照与分钟级备份,商家目前提供DECADE云服务器包括美国洛杉矶普通线路、美国洛杉矶中美极速优化线路,以及中国香港机房。
二、SugarHosts香港云服务器综合评测
SugarHosts商家提供的香港云服务器512MB内存起步的,如果我们建站用途的话,个人建议从L1起步。本文章评测的是Cloud M1配置。
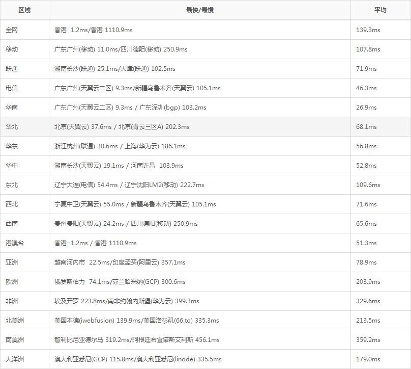
1、PING延迟速度测试

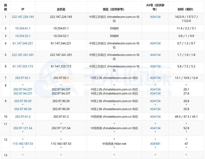
2、去程路由测试

3、配置信息和IO读写测试

4、上传下载速度测试

更多评测:SugarHosts评测
(本文由美国主机侦探原创,转载请注明出处“美国主机侦探”和原文地址!)
微信扫码加好友进群
主机优惠码及时掌握
QQ群号:938255063
主机优惠发布与交流



