网站SEO运营,虚拟主机是关键,因近些年国内备案的要求越来越严格,导致很多站长不得不将虚拟主机转向海外,但是有很多新站长对美国主机使用甚少,了解不是很多,导致钱花了站却没做好,所以小编就根据自己的经验总结了一下目前比较收欢迎的美国虚拟主机!
首先根据关注度对美国主机进行排名:

以上排名是小编在3月中旬根据百度指数工具得来的top10数据,还有很多搜索量比较小的就不在此列举了,后期数据可能有变化,大家可以自己去查询。
对于虚拟主机来说,大家购买最应该考虑的因素就是速度、稳定、价格以及售后这四个方面,小编就从这四个角度对以上10个美国主机商做评测:
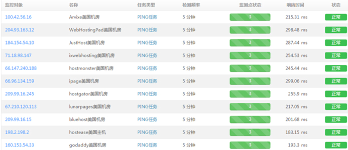
速度:因为是美国主机,速度肯定是大家首要考虑的因素。详情见下图

第一名:Hostease,HE在速度中稳座第一,速度是它的主打优势,平均访问速度在200ms左右,使用的都是经过电信联通专线优化线路,所以在速度上基本没有其他家主机商能和它相媲美。
第二名:GoDaddy,GD的访问速度绝对是坑人的,因为经常会出现国内部分地区不能访问的情况,有很多人不知道这个情况,买主机退款的大有人在,所以不是外贸站的话小编不建议使用GodaDDy。
第三名:BlueHost,BL是一家老牌的主机商了,在美国西海岸设有机房,听说也曾针对中国的线路进行专线优化,访问速度基本在250ms左右,完全可以满足国内用户访问的需求。
稳定:
第一名:LunarPages,lp的稳定是美国主机中出名的,曾经多次在美国各项评测中获得稳定性第一的嘉誉。小编曾经问过客服,客服表示对网站内容管理很严格,所以封IP、封服务器的事情很少出现。
第二名:HostEase,HE是一家新主机商(和其他家相比较),机器都比较新,所以故障率很少,稳定性也是相当不错的。
第三名:Bluehost、Goaddy并列第三,其实有很多老站长都用过这两款主机,特别是bluehost当时被称为最适合中国人使用的主机,所以稳定性上还是可以保障的,基本不会影响网站的使用。
价格:因为不同主机配置价格是不一样的,小编就以性价比来做个排名。
第一名:最便宜的要数GoDaddy的经济型主机了,优惠后一年仅需75元(Windows和Linux主机价格一样),还带免费域名(美国主机年付基本都送域名),虽然GoDaddy国内访问速度不是很稳定,但是作为外贸站还是很适合的。对于一些SEO新手,可以购买这款主机来练练手,使用教程可以参考GoDaddy主机中文指南网http://godaddy.idcspy.com/godaddy-tutorial。
第二名:HostEase的基础型Linux主机,无限空间无限流量,无限网站,优惠后一年仅需198元,性价比很高。
第三名:BlueHost的香港主机Plan B,其实美国主机中除了以上两种,其他的都差不多了,没有什么可比性。而BlueHost的香港主机 Plan B是不限制流量的(无限空间和网站),这在香港主机中是很难得的,使用优惠码idcspyMDH后的价格为一年708,价格有点贵,但是绝对物超所值。
售后:这里说的售后当然就是客服了。
第一名:GoDaddy,GD是上市公司,在售后上是相当给力的,不管是退款还是改套餐速度都是很快的,甚至域名退款都是可以的(申请5天之内)。唯一的缺点就是没有中文客服,所以英文不好的站长需要找个谷歌翻译才能沟通。
第二名:HostEase,24小时中文客服在线,小编在春节期间找过客服,居然还有人值班,当时就泪奔了。HE的客服是技术客服,所以沟通技巧上有待提高,有的时候客服听到你的问题后,在没有告诉你的情况直接帮你解决去了,所以经常会感到莫名其妙。
第三名:Hostgator,每次找hostgator客服都要等很长时间,但是在小编的印象中,好像每次问题找客服都能解决,其服务质量还是不错的。
虚拟主机市场竞争是激烈的,特别在国内备案限制之后,各种广告、竞价充满了互联网,对于站长来说,需要结合自己的需求来选择适合自己的主机,千万不能因为片面之词来影响自己的判断。
(本文由美国主机侦探原创,转载请注明出处“美国主机侦探”和原文地址!)
微信扫码加好友进群
主机优惠码及时掌握
QQ群号:938255063
主机优惠发布与交流



