腾讯云轻量服务器是一款易于使用和管理的云服务器,适合承载轻量级业务负载。它可以帮助个人和企业在云中快速构建各种应用程序,如网站、博客、网上商城和论坛,并开发测试环境。现在提供北京、上海、广州、成都、香港、硅谷和新加坡等机房,上次小编给大家评测了香港机房,今天对腾讯云轻量服务器新加坡机房评测。
一、腾讯云轻量服务器新加坡机房方案
| 方案 | CPU | 内存 | 硬盘 | 带宽 | 流量 | 价格/年 |
| 基础型 | 1核 | 1GB | 25GB | 30Mbps | 1TB | 288元 |
| 通用型 | 1核 | 2GB | 50GB | 30Mbps | 2TB | 408元 |
| 专业型 | 2核 | 4GB | 100GB | 30Mbps | 4TB | 1596元 |
| 进阶型 | 2核 | 8GB | 200GB | 30Mbps | 5TB | 3192元 |
《点击官网购买》
二、腾讯云轻量服务器新加坡评测
1、硬盘I/O

2、全网Ping速度

3、路由去程追踪
电信

移动

联通

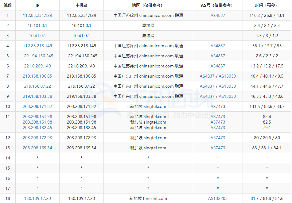
4、路由回程追踪
电信

移动

联通

相关推荐:《腾讯云轻量服务器香港评测》
(本文由美国主机侦探原创,转载请注明出处“美国主机侦探”和原文地址!)
微信扫码加好友进群
主机优惠码及时掌握
QQ群号:938255063
主机优惠发布与交流



