HostHatch是成立于2011年一家美国主机提供商,HostHatch VPS主要特色优势是采用NVMe和SSD硬盘存储,目前在全球共有九大数据中心,而今天的文章就是来带大家看看HostHatch伦敦机房速度性能是怎么样的,下面就一起来看看吧。
首先我们来测评一下HostHatch伦敦机房速度,当然用很多站长都熟悉不过的ping,如下图:
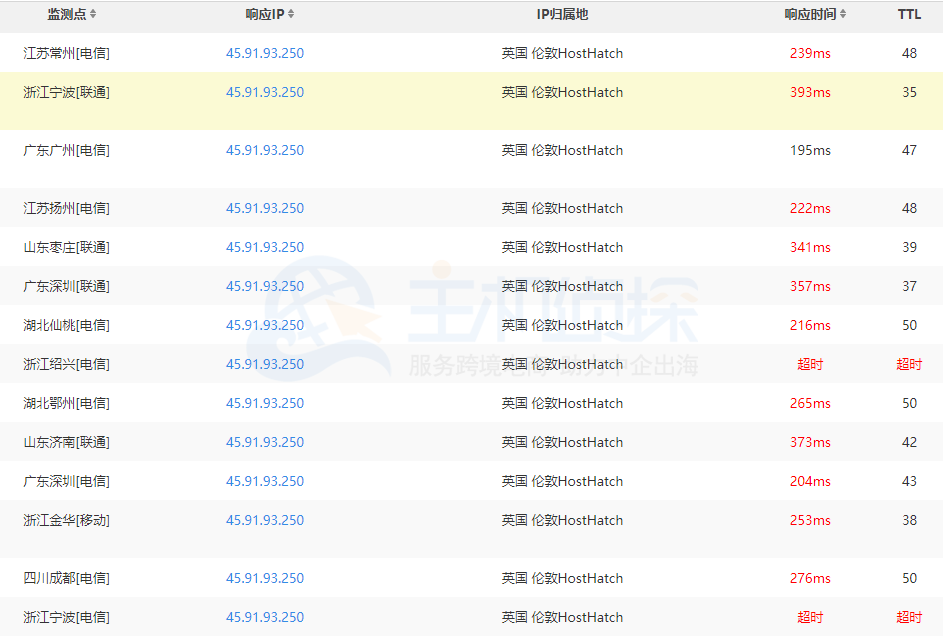
IP:45.91.93.250


上图就是HostHatch伦敦机房速度,可以看到是不理想的,平均速度249ms左右。我们在来看看HostHatch硬盘方面,如下:

选用的HostHatch VPS来做测试,从上图可以看到已经平稳运行134天了,246G的硬盘,硬盘平均读写速度553MB/s还行,就是内存小了点。
总结:HostHatch伦敦机房速度性能综合评测一般,在这里小编不推荐。如果大家有VPS租用需求,可以参考《十大美国VPS排行推荐》。
(本文由美国主机侦探原创,转载请注明出处“美国主机侦探”和原文地址!)
微信扫码加好友进群
主机优惠码及时掌握
QQ群号:938255063
主机优惠发布与交流



