RAKsmart是我们熟悉的一家主机商,之前RAKsmart机房一直提供美国服务器和香港服务器等产品方案。今年为了满足不同用户的建站需求,RAKsmart新增了日本服务器和日本VPS两种方案。前面小编已经给大家简单测评过了RAKsmart日本服务器方案性能,那么RAKsmart日本VPS速度怎么样呢?今天从方案配置、性能和速度等几个方便给大家评测下,仅供大家购买参考。
一、RAKsmart日本VPS方案配置
RAKsmart日本VPS目前提供七种方案,均为5M带宽不限流量配置,采用SolusVM控制面板,支持Windows操作系统,最低9.9美元/月,具体参数配置如下:
| 方案 | CPU | 内存 | 硬盘大小 | 带宽/流量 | 价格/月 | 购买地址 |
| SAN V1024 | 1核 | 1024M | 40GB | 5M/不限 | 9.9美元 | 点击购买 |
| SAN V2048 | 2核 | 2048M | 80GB | 5M/不限 | 19.9,美元 | 点击购买 |
| SAN V4096 | 4核 | 4096M | 160GB | 5M/不限 | 39.9美元 | 点击购买 |
| SAN V6144 | 4核 | 6144M | 180GB | 5M/不限 | 59.9美元 | 点击购买 |
| SAN V8192 | 4核 | 8192M | 220GB | 5M/不限 | 79.9美元 | 点击购买 |
| SAN V8192+ | 6核 | 8192M | 240GB | 5M/不限 | 89.9美元 | 点击购买 |
| SAN V16384 | 6核 | 16384M | 260GB | 5M/不限 | 99.9美元 | 点击购买 |
二、RAKsmart日本VPS性能综合评测
1、配置性能测试

2、I/O硬盘读写速度

3、国内电信联通移动线路下载上传速度

4、Ping测试结果
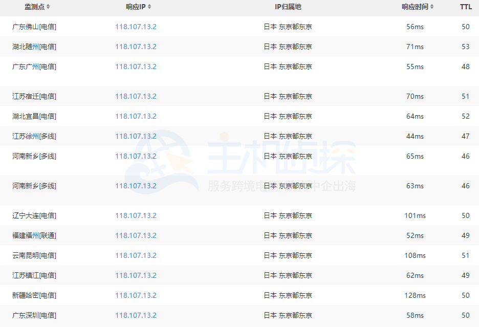
RAKsmart日本VPS Ping测试结果为平均64.6ms。


5、路由去程测试
电信

移动

以上就是对RAKsmart日本VPS性能整体评测,从上图我们可以看出目前电信和移动往返直连,三网平均延迟低至70毫秒以内,三网最低延迟低至44毫秒!RAKsmart日本VPS主机位于东京机房,离中国大陆比较近,所以国内访问速度相对来说比较快。再加上RAKsmart日本VPS硬盘IO读写速度表现也不错,所以还是比较适合国内用户建站的。
更多评测:RAKsmart评测
(本文由美国主机侦探原创,转载请注明出处“美国主机侦探”和原文地址!)
微信扫码加好友进群
主机优惠码及时掌握
QQ群号:938255063
主机优惠发布与交流




