韩国服务器怎么样?韩国服务器是近几年备受国内站长青睐的国外服务器之一,具有免备案、速度快和价格便宜等优势。为了让大家更加直观的了解韩国服务器,本文将对RAKsmart韩国服务器E5-2620*2进行评测,同时分享下实测数据,仅供参考。
RAKsmart韩国服务器位于首尔机房,采用混合线路,有精品网和大陆优化两种线路,提供3个IP,具体配置详情如下:
RAKsmart优惠码:专属优惠链接
| CPU | 内存 | 硬盘 | 带宽 | 流量 | 线路 | 价格/月 | 购买地址 |
| E5-2620*2 | 32GB | 1T HDD | 10M | 不限 | 精品网 | $153.69 | 点此购买 |
| E5-2630L*2 | 32GB | 400G SSD | 30M | 不限 | 大陆优化 | $138.31 | 点此购买 |
1、CPU和I/O读写

2、三网测速结果


3、全网Ping

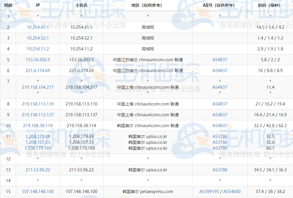
4、回程路由追踪
电信:CN2线路


联通


移动


5、去程路由追踪
电信

联通

移动

相关推荐:
《RAKsmart美国服务器E3-1230v6性能和速度评测》
《RAKsmart美国G口大带宽服务器E5-2620综合评测》
《RAKsmart E5-2670v3双CPU香港服务器综合评测》
(本文由美国主机侦探原创,转载请注明出处“美国主机侦探”和原文地址!)
微信扫码加好友进群
主机优惠码及时掌握
QQ群号:938255063
主机优惠发布与交流




